Welcome to Dreamhub

速据库,专注于新能源系统研发,助力于车企和改装企业“低成本”完成新能源公告申报和免购置税申报

新能源过检服务 | 新能源系统产品 | 新能源免购置税申报 | 软件研发

What We Do

核心业务介绍

icon

新能源系统产品

    为企业提供“低成本”新能源平台租赁和平台搭建业务

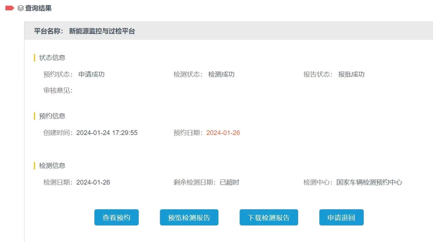
  • 1. 新能源过检系统
  • 2. 新能源监控系统
  • 3. 新能源过检数据分析工具
icon

新能源过检服务

    为企业提供新能源产品公告需要的检测服务

  • 1. 平台符合性检测
  • 2. 车辆符合性检测
  • 3. 底盘符合性检测
icon

新能源免购置税申报

    为企业提供代为申报新能源车型免购置税服务

  • 1. 开通企业端口和账号
  • 2. 申报车型免购置税
  •  
icon

车联网软件研发

    为企业提供定制化车联网软件开发服务

  • 1. 小程序&APP
  • 2. 智慧车联网系统
  • 3. 新能源监控系统定制化

What we do

成功案例展示

imgs
imgs

Clean Energy Project

Lorem ipsum dolor sit amet, consectetur adipisicing elit sed de ut

imgs
imgs
imgs